Трендом последних нескольких лет в сфере создания смартфонов, безусловно, является увеличение диагонали дисплея. Оно и неудивительно: чем больше размер экрана – тем больший потенциал у его обладателя. К примеру, смартфон можно оснастить более емким аккумулятором, что положительно скажется на времени его автономной роботы. Одновременно с этим, налицо и отрицательные последствия тенденции к увеличению. Диагональ ладоней пользователей остается прежней, а значит, с каждым лишним дюймом дисплея работа за ним становится все менее удобной. Похоже, представители южнокорейской компании Samsung знают, как исправить данное недоразумение.

На протяжении многих лет производители фаблетов и смартфонов с большой диагональю дисплея пытались внедрить способы упрощения взаимодействия пользователя с устройством. К сожалению, заметных результатов это не принесло. Наиболее ощутимым изменением, на которое решились создатели смартфонов, стали уменьшенные рамки вокруг дисплея и заметно более функциональные стилусы. Несмотря на это, многим пользователям по-прежнему приходилось перебирать пальцами по корпусу устройства ради того, чтобы совершить необходимое нажатие в верхнем углу дисплея.

Ситуация могла измениться совсем недавно. Одновременно с запуском фаблета Galaxy Note 3, Samsung продемонстрировала особый режим, созданный для использования аппарата одной рукой. Несмотря на старания инженеров, фишка не прижилась. Возможно, причиной тому стала эстетическая составляющая: во время работы режима интерфейс всего-навсего масштабировался в нужный угол, тогда как добрая треть пространства дисплея успешно пустовала.

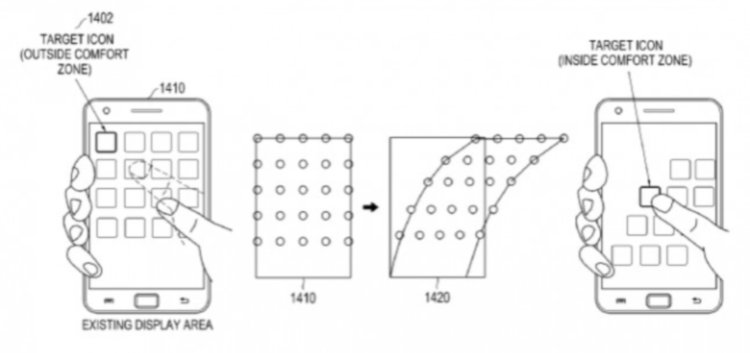
Похоже, компания осознала собственные ошибки, а потому решили попотеть над усовершенствованием вышеупомянутого режима. Согласно полученной информации, Samsung зарегистрировала патент, описывающий новый интерфейс. Суть его чрезвычайно проста и одновременно с этим логична. В основе патента лежит идея переноса наиболее необходимых средств навигации по просторам смартфона в так называемую зону комфорта. Последняя представляет собой пространство, в пределах которого большой палец можно перемещать без необходимости изменения хвата руки.
Иллюстрации патента показывают, что разработчики собираются перенести не только значки меню, но и элементы управления медиаплеером и даже клавиатуру.
К сожалению, патентование технологий не является гарантией их скорой реализаций. Более того, в некоторых случаях патент может создаваться лишь для защиты от конкурентов или простого планирования продуктов в будущем. Как бы там ни было, хочется надеяться, что данная технология не только будет воплощена в жизнь южнокорейским производителем, но и найдет свое отражение в аппаратах других компаний.





