Сегодня в интернете появилась информация о том, что Sony подала заявку на патент складного смартфона, содержащего сенсоры прямо в экране. На изображениях в новом патенте на этот необычный смартфон от Sony видно, что у устройства будет два гибких дисплея спереди и сзади, и в оба будут встроены специальные «датчик давления», «сенсоры ускорения» и «датчики температуры».

Экран смартфона от Sony будет просто напичкан всевозможными сенсорами
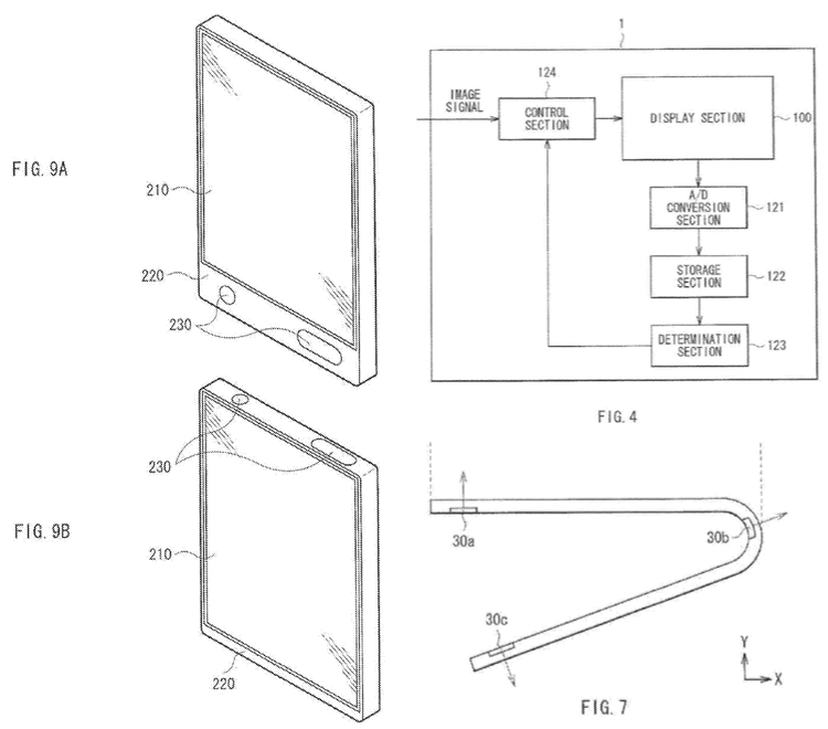
Как сказала Sony, в экран этого устройства также могут быть добавлены другие датчики, такие как фотосенсор и датчик сопротивления. Эти датчики помогут определить, как пользователь держит телефон, чтобы обеспечить наилучшую отзывчивость интерфейса, независимо от того, в каком положении находится устройство.

Передняя и задняя стороны, как уже было сказано, имеют по дисплею во всю поверхность, что в каком-то смысле напоминает конструкцию как Samsung Galaxy Fold, так и Huawei Mate X, но у одного при складывании снаружи остаётся очень маленький экран, пользоваться которым совсем неудобно, а у второго в сложенном виде экран остаётся незащищенным снаружи.
Хотя патент специально и разработан для складных дисплеев, его также можно использовать для обычного смартфона с дисплеями на обеих сторонах корпуса. Кнопки на устройстве могут быть расположены на торцах, чтобы экраны могли занять максимальную площадь как на передней, так и задней поверхности. Sony подала свой патент во Всемирную организацию интеллектуальной собственности (ВОИС) 4 марта 2019 года.

Пользователей Sony становится меньше, но компания продолжает выпускать для них современные устройства
Японский производитель, похоже, следит за новой тенденцией рынка, который неизбежно перейдёт на складные устройства. В конце концов, пользователям больше нравится, когда в их руках находится своего рода устройство 2-в-1: в сложенном виде это смартфон, но стоит его развернуть, как получается вполне себе обыкновенный планшет. Sony не лидирует в сегменте складных смартфонов, но компания, судя по всему, хочет продолжать выпускать устройства для своей сокращающейся пользовательской базы — даже самые модные устройства.
В идеях Sony нет ничего уникального, но компания хочет завоевать свою долю на рынке складных смартфонов. В этом направлении сейчас лидирует Samsung, что является результатом восьмилетнего труда и корпения над ее печально известным смартфоном Galaxy Fold, выпуск которого отменили из-за выходящего из строя экрана и возможности попадания на пластиковый экран частичек пыли и грязи, так как при складывании половинки устройства прилегали друг к другу недостаточно плотно, а для пластикового экрана это критично.

Samsung очень боялась, что Huawei станет первой компанией, выпустившей на рынок складное мобильное устройство, а поэтому поторопилась выпустить свое. Смартфон ещё не был доведён до ума, а посему южнокорейский гигант потерпел фиаско.
Пока не известно, когда Sony выпустит свой складной смартфон, но наверняка можно сказать, что это лишь вопрос времени, так как Samsung и Huawei, которые хоть и не выпустили ещё свои складные смартфоны, уже направили рынок в новом направлении.
Делитесь своим мнением в комментариях под этим материалом и в нашем Telegram-чате.


