Трансформеры? Нельзя сказать, чтобы они пользовались особой популярностью, но они есть. Asus недавно укрепился в роли лидера этого сегмента с планшетом Transformer и устройствами Padfone. По всей видимости, создатели Android уже не могут оставлять без внимания определенный спрос на девайсы этой категории. Компанией Google в США в феврале 2014 года был получен патент 8,649,821 на ноутбук, в который встраивается съемный мобильный телефон. Причин, по которым Android PC в будущем ждет успех, называют немало. Но если грань между компьютером и телефоном сотрется совсем, то сможет ли хоть одна операционная система в мире конкурировать с Android?


Оба устройства работают совместно и каждое из них несет свои функции. Ни об Android, ни о «хромбуках», которые порой называют компьютерами будущего, в патентной документации ничего не сказано. Впрочем, в этом нет ничего удивительного: заявка на получение патента была подана поисковым гигантом еще в сентябре 2012 года, когда рассматриваемые технологии не играли столь значительной роли, как сегодня. Да и не в них суть, а в самой идее близко подружить компьютер с телефоном.
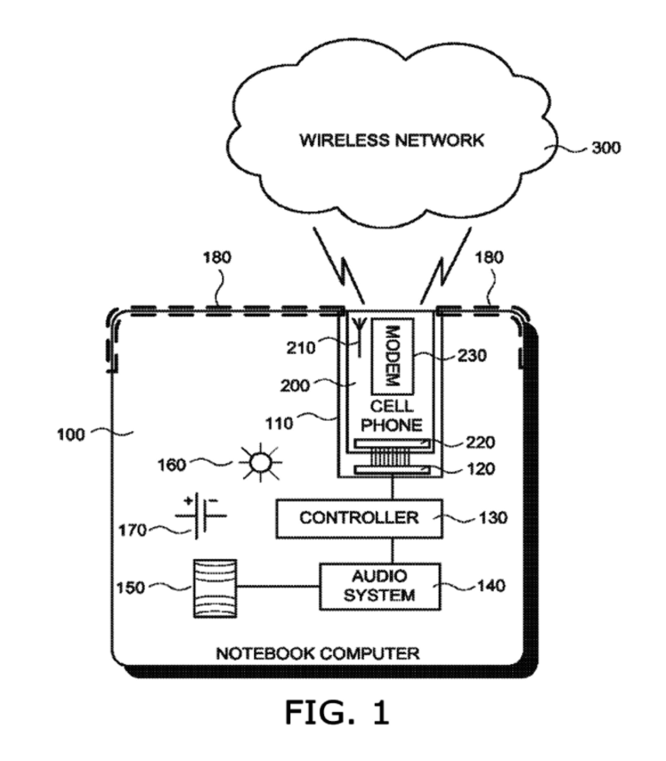
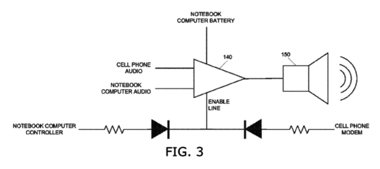
Основная идея ноутбука состоит в том, что компьютер заимствует беспроводное соединение телефона для доступа к Интернету на ходу. Встроенный телефон может также использоваться в качестве динамика и микрофона для VOIP-общения и других подобных задач. В свою очередь телефон может использовать более мощный динамик ноутбука в качестве усилителя. При условии, разумеется, что телефон вставлен в предназначенный для него док.

Обозреватель ресурса Android Police Майкл Крайдер решил поразмышлять над теми мыслями, которые содержит в себе патент. И над тем, насколько перспективно устройство, состоящее из двух.
Можно также предположить, что пользователь сможет принимать телефонные звонки с компьютера. Вероятно, телефон сможет использовать также более емкий аккумулятор портативного компьютера в качестве энергетического резерва. Чертежи к патенту указывают на наличие в компьютере специального слота для телефона, а не просто возможности соединения через порт USB.
Эта идея немного перекликается с дизайном Motorola Lapdock, который реализован в изначальном Atrix и других телефонах. Аппаратное обеспечение ноутбука работает независимо от «железа» телефона. Это совсем не похоже на дополнительные физические клавиатуры к планшетам. В данном случае речь идет о симбиозе двух самостоятельных устройств, ни одно из которых не является вторичным по отношению к другому. Не является оно и аксессуаром.
По всей видимости, этот комплект будет стоить немало и бережливых потребителей не порадует мысль о покупке парочки специальных устройств, рассчитанных на совместную работу. Не говоря уже о том, что они могут оказаться несовместимы со следующими поколениями подобных комплектов и тем более с другими девайсами.
А сама идея довольно привлекательна и указывает на сближение мобильного Android и настольного Chrome. Если у Google получится создать систему, посредством которой все необходимое — питание, соединение, файлы, приложения и настройки — от каждого из входящих в нее устройств смогут работать совместно, эта новая макроплатформа может оказаться новым хитом высокотехнологического мира. Но не стоит забывать и о том, что перед нами даже не прототип, а патент — далекая от реализации идея. И ее появление говорит лишь о том, что в Google кто-то задумался о создании комбинированного устройства из компьютера и телефона, а совсем не о скором ее воплощении в жизнь.
А по вашему мнению, нужны ли людям подобные устройства? Нужен ли в компьютере док, в который вставляется смартфон? Какими функциями должны обладать такого рода трансформеры, чтобы заинтересовать пользователей? Должен ли этот ноутбук непременно базироваться на платформе Android? Кстати, такие устройства весьма скоро появятся.





